田口食品株式会社のプレスリリース
洋菓子「オランジェ」ブランドを製造・販売する田口食品株式会社 (本社:兵庫県相生市、代表取締役社長:田口 晴喜)は、当社が製造・販売する「ショートケーキ」の商品製造方法において特許を取得しましたことをお知らせ致します。

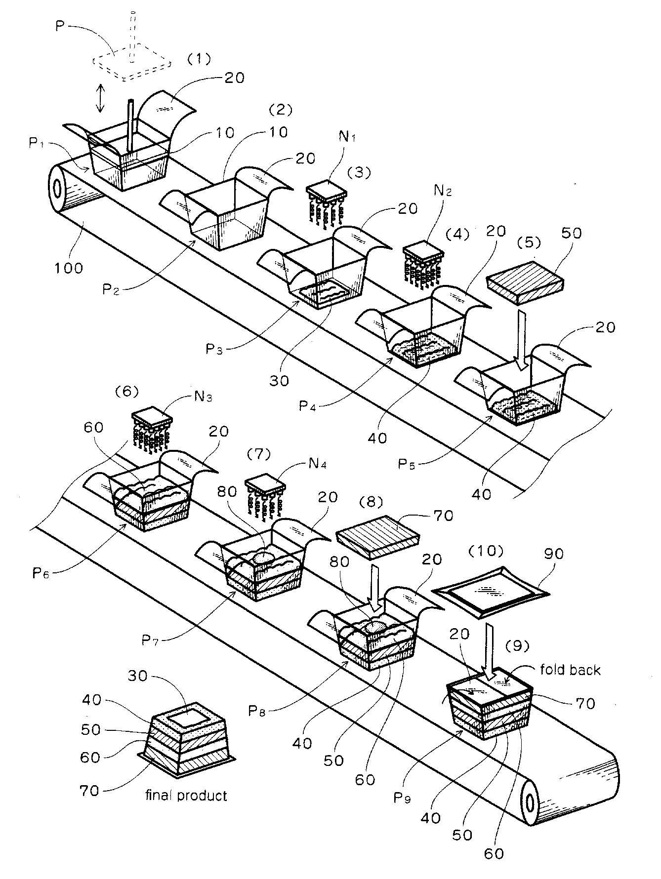
本発明は、当社が製造する洋生菓子「贅沢苺ショートケーキ」を、遠方のコンビニやスーパー等で販売するのに適した保形性の高い商品として製造する技術に関するものです。
パッケージ容器を製造容器として、通常の製造工程とは逆の手順で製造するという斬新な手法によりそれを実現し、また同時に製造工程の簡略化、及び工場での流れ作業での製造が可能となりました。
【特許が解決しようとする課題】
通常のショートケーキ製造の工程は、スポンジケーキへのクリーム塗布、所定の大きさへのカット、フィルムの巻き付け、さらにはフルーツ等の盛り付け・飾り付けなど、多くの作業工程を必要とします。また非常に脆く、少しの衝撃で破損してしまう為、上記のようなホールケーキを切り分けて作る方法では遠方のコンビニ等まで輸送するには破損のリスクが大きく、安定した供給が難しくなります。
そこで本発明は、遠方であっても安全に輸送が可能で、簡単にパッケージを解いて食べることの出来る商品製造方法を開発することを課題としました。
【達成する為に行った技術背景】
パッケージ容器を製造容器として利用し、逆工程で頭部から製造していくことで、輸送によって壊れにくく、コンビニ等でも取り扱い易いショートケーキを製造出来ることに着目致しました。また保形性の高さを維持出来るだけでなく、工程数の多いショートケーキの製造を流れ作業的に量産出来、製造コストの低減が図れます。
さらに、脆く崩れやすいクリーム部分が多い構成であっても、少ない生地量で支える事が可能となった点も特筆すべき箇所であります。
商品の取り出しに関しても、パッケージ容器を末広がりの台形にし、商品との間に中敷きフィルムをセットする方法を採用しました。これにより中身のケーキがパッケージ容器に付着するのを回避し、中敷きフィルムを引き出すことで容易にケーキを取り出すことが可能です。さらにパッケージ容器の上面に切り込み口を設け、開封時にそこから空気が吹き込まれることにより、より容易な取り出しが可能となりました。
ショートケーキに限らず、洋生菓子は脆く崩れやすいものが大半です。その中で保形性が高く破損ロスの少ない商品を作ることは当社のみならず業界全体の課題でもあります。
此度の特許取得により、ロスを削減することでSDGsな社会への貢献の一環となることを期待し、今後ともより良い商品づくりに邁進していく所存です。
【特許概要】
特許番号 :第7280372号
発明の名称 :パッケージ容器に頭から製造され、収納されるショートケーキの製造方法
特許登録日 :2023年5月15日
特許権者 :田口食品株式会社

【企業情報】
会社名 :田口食品株式会社 (英名:Taguchi & Co., Ltd.)
本社所在地:〒679-4155 兵庫県たつの市揖保町揖保中300番地
代表者:代表取締役社長 田口 晴喜
設立: 1949 年( 昭和 24 年 ) 4 月
資本金: 4,775 万円
事業内容:洋生菓子、アイスクリーム等の製造、販売
ホームページ:https://orange-taguchi.com
【特許情報/Patent infromation】
日本語 :https://www.j-platpat.inpit.go.jp/c1800/PU/JP-7280372/7935816A60A83B7193D91A64E143EC0BDE2C8B0BB88030711E43E0C1E0D595FF/15/ja
English :
https://www.j-platpat.inpit.go.jp/c1800/PU/JP-7280372/7935816A60A83B7193D91A64E143EC0BDE2C8B0BB88030711E43E0C1E0D595FF/15/en



